Konzolos hintaállvány

IM 031701/2

Termék-kategóriák » Hinták » Konzolos hintaállvány
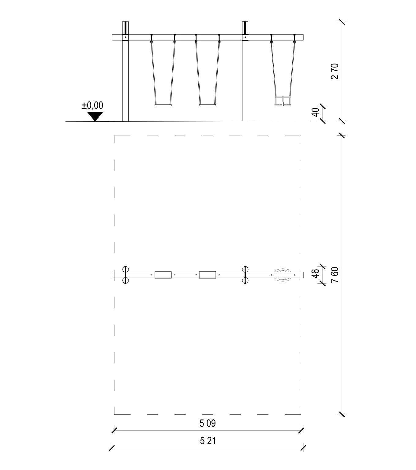
Eszköz mérete521 cm x 46 cm
Szükséges tér554 cm x 760 cm
Esésmagasság130-142 cm
Esési tér területe38,7 m2
Esési tér kerülete25,4 m
Ütéscsillapítás anyagaszemcsés szerkezetű talaj 20 cm + 10 cm rétegvastagsággal, szintetikus gumiburkolat 130-142 cm esésmagassághoz
Eszköz legmagasabb pontja270 cm
Ajánlott életkor1-3, 3-14 év
Felhasználók száma3
Alapozás síkja100 cm
Anyagszíjácsmart akác rönk, tölgy gerenda, rozsdamentes acél lánc,  bébi ülőke/ gumilap ülőke/ fészek ülőke/ dzsungelkötél ülőke
Legnehezebb elem123 kg
Legnagyobb elem521 cm
SzabványMSZ EN 1176-1:2018, MSZ EN 1176-2:2017+AC:2020
PDF rajz letöltés
PDF adatlap letöltés
DWG letöltés
Ezt a terméket már felvetted a listádra.
Termékek